Start
Forthcoming steam weekends (2026): 18-19 April 2026; 13-14 June 2026; 13 September 2026; 19 September 2026; 10-11 October 2026
Opening hours at other times: from 04 April 2026 to 24 October 2026 every saturday from 10 am to 5 pm.
Further information is available here.
18-19 April 2026: Saisoneröffnung


-- 31 --

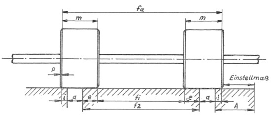
Behelf zum Vermessen der inneren Steuerung


Istmaße in mm


 

Maß links hinten vorn Mitte hinten vorn rechts hinten vorn
m


fi





fa





p





e


f2





A






Dampflokfreunde Salzwedel e.V. Am Bahnhof 6, 19322 Wittenberge